Искусство плавания под парусами.
Настройка такелажа.
Часть 10
Из книги: "Искусство плавания под парусами".
Автор: Пауль Эльвстрем.
Типы такелажа.
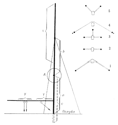
На рис. 21 изображена типичная мачта для швертбота, которая удерживается
в положении А краспицами различных типов.
На яхтах большинства классов топ мачты может свободно прогибаться,
но в некоторых классах, например на яхтах международного класса
"14-футовый", имеются контркраспицы, контролирующие прогиб топа
мачты. Важнее всего ограничить прогибание мачты в нижней ее части.
Это достигается в основном с помощью краспиц, точка расположения
которых А должна выбираться так, чтобы расстояние а
было меньше b. Нужно найти такую точку крепления, которая
бы соответствовала расположению такелажа в зависимости от того,
где находится шпор мачты - на палубе или на киле. В последнем
случае можно удовлетворительно контролировать изгиб мачты, заклинивая
ее в пяртнерсе на палубе. Если по какой-то причине этого нельзя
сделать, тогда необходимо отрезок а измерять от шпора мачты,
и все же он должен быть меньше отрезка b.
Рис.
21.
На чертеже 1 (см. рис. 21) изображен наиболее типичный вид краспиц,
концы которых неподвижно крепятся к вантам, а основание - к мачте
или неподвижно, или на шарнире. Большим недостатком такого типа
крепления вант к краспицам является то, что при настройке такелажа
приходится их откреплять от вант и заменять более длинными или
короткими. Чтобы изменить угол расположения краспиц в горизонтальной
плоскости, надо сверлить новые отверстия в оковке для краспиц
или выгибать сами краспицы.
На чертеже 2 изображены краспицы для ромбовант. С помощью талрепов
на нижних концах ромбовант можно легко контролировать поперечный
изгиб мачты. Для гибких мачт краспицы ромбовант изготовляют из
крепкой нержавеющей стали, поскольку при сильном изгибе мачты
они могут сломаться. Краспицы качающегося типа, изображенные на
чертеже 1, могут быть изготовлены из дюралюминия. Если же они
имеют жесткое крепление к мачте, их следует изготовлять также
из нержавеющей стали.
При гибкой мачте необходимо иметь устройство с контр-краспицей,
изображенное на чертеже 3. Такая краспица позволяет очень точно
контролировать мачту - подходит ли она к используемому парусу.
Приспособление на чертеже 4 (см. рис. 21) представляет собой трос,
идущий от вант к мачте. На курсе бейдевинд эта система работает
так же, как краспицы с шарнирным креплением, но имеет то преимущество,
что позволяет контролировать величину изгиба мачты с помощью троса,
который проходит через небольшой блок на мачте вниз, до уровня
палубы, где и крепится. Но на полных курсах такое устройство не
помогает оттягивать среднюю часть мачты вперед. Это достигается
с помощью краспиц с жестким креплением (чертеж 1). В результате
топ мачты перестает прогибаться вперед, а средняя часть - назад.
Следует заметить, что если яхта идет под спинакером в сильный
ветер, такое выгибание мачты часто приводит к обрыву такелажа.
На чертеже 5 (см. рис. 21) изображены обычные V-образные краспицы,
которые позволяют контролировать одновременно как продольный,
так и поперечный изгиб верхней части мачты. Недостатком этой системы
является то, что с ее помощью нельзя отдельно контролировать выгибание
мачты вперед и в стороны.
При таком типе краспиц можно регулировать гибкость мачты, только
переделывая крепление усов краспицы и изменяя угол между ними.
Это наиболее простая система для контроля прогиба топа мачты,
но она обычно применяется только тогда, когда грот имеет очень
большую выемку по задней шкаторине. В подобном случае необходимо
контролировать прогиб мачты, чтобы избежать слишком сильного ослабления
задней шкаторины.
Легко регулировать гибкость деревянной мачты сострогав часть ее
поверхности или наклеив полоски дерева в пределах, допускаемых
правилами класса. Сложнее дело обстоит с металлическими мачтами.
Их можно "смягчить" в продольном направлении, если прорезать щели
в пазу для передней шкаторины, причем делать это можно только
в части X (см. рис. 21).
С увеличением силы ветра почти все швертботы начинают лежать на
руле. Особенно это чувствуется при сильных порывах ветра, когда
судно начинает крениться. Следовательно, важно настраивать гик
таким образом, чтобы при увеличении силы ветра он помогал ослаблять
заднюю шкаторину грота. Это достигается посредством контролируемого
изгибания гика. Для увеличения гибкости можно, как на мачте, прорезать
щели в пазу для нижней шкаторины металлического гика, но я советую
так делать только в части, идущей после центрального положения
гика-шкота. Если гик слишком жесткий, то можно вырезать щели и
в передней части. Однако не трогайте отрезки, помеченные Y
на рис. 21. Особенно старайтесь не ослабить часть гика, где крепится
оттяжка.
Для увеличения гибкости металлической части гика в поперечном
направлении можно прорезать длинную щель в нижней части гика по
всей длине. Эта щель должна доходить до самого нока гика, чтобы
обе его части могли слегка заходить друг за друга. Такой же прием
можно использовать для увеличения гибкости топа мачты в стороны.
Очень важно уметь жестко заклинивать мачту у палубы, иначе на
очень полном курсе в сильный ветер сильно набитая оттяжка гика
может изогнуть или даже сломать мачту. В то же время помните:
набивание оттяжки гика чрезвычайно важно для достижения максимальной
скорости на режиме глиссирования.
Мачта должна быть как можно более легкой. Центр тяжести обычной
мачты швертбота находится на расстоянии около 10 футов от палубы.
Представьте себе, какую роль будут играть лишние килограммы наверху,
если яхта попала в килевую качку и ударяется о волны.
Она потеряет легкость и станет безжизненной.
Рис.
22.
Чем туже набит штаг на килевых яхтах, тем большую геную они
могут нести. На рис. 22 изображен такелаж яхты класса "Дракон".
Я беру именно этот такелаж, потому что здесь изображен один из
наиболее распространенных методов его настройки, и проблемы, с
которыми мы здесь столкнемся, являются общими почти для всех классов
килевых яхт.
Привожу описание настройки мачты. На правом рисунке яхта идет
левым галсом, штаг а может быть набит до предела, так как
он и бакштаг b принимают на себя основную нагрузку. Это
можно сделать, ослабив основную ванту (2) и топ-ванту (1). Боковой
изгиб топа мачты достигается ослаблением или натяжением ромбовант,
и степень его зависит от полноты вашего паруса в верхней части.
Если грот слишком полон в верхней части, стоит ослабить ромбованты
и дать возможность мачте гнуться в стороны.
От чрезмерной жесткости мачты можно избавиться, несколько ослабив
ромбованты. Если они затянуты очень сильно, то это ослабляет мачту
в точке А. Когда парус становится слишком пузатым для более
сильного ветра, необходимо набить основные ванты, ослабить топ-
и ромбованты, чтобы прогнуть мачту в поперечном направлении. Она
изогнется под ветер в верхней части, от точки А, и расстояние
между задней шкаториной генуи и гротом увеличится. Жесткость нижней
части мачты регулируется у палубы и шпора.
В слабый ветер на гладкой воде средний парус может иметь слишком
много полноты вдоль мачты и мешать яхте идти более круто.
Чтобы убрать эту полноту, надо изогнуть мачту в нижней части,
переместив шпор ее к корме или заклинив в пяртнерсе по задней
кромке мачты. Но правила для некоторых классов дают очень жесткие
допуски для пяртнерса, которые ограничивают возможность заклинивания.
В подобных случаях следует больше заклинивать мачту у шпора. Если
ромбованты слабо обтянуты, то в слабый ветер нельзя изгибать мачту,
только набивая ахтерштаг, поскольку таким образом ослабляется
грот по задней шкаторине, что нежелательно в слабый ветер. В сильный
ветер, чтобы избежать крена, надо убрать излишний профиль в верхней
части паруса, изогнув топ мачты, и тем самым сделать ее более
плоской. При ослаблении ветра мачта снова выпрямляется и необходимый
профиль паруса восстанавливается.
Рис.
23.
На рис. 23 изображен такелаж яхт класса "Звездный". Верхнюю часть
мачты в этом классе можно контролировать двумя путями. Во-первых
с помощью контрштага, который проводится от топа до нижних краспиц
и далее под палубу, где набивается с помощью рычага хейфильда.
Изменяя натяжение на рычаге, можно увеличить или уменьшить натяжение
этого штага, проходящего через контр-краспицу. Второй и лучший
способ контроля за верхней частью мачты - установка специального
штага, идущего от топа до форштевня. Яхты класса "Звездный" имеют
двойные бакштаги с каждой стороны. Верхний бакштаг натягивает
штаг яхты, а нижний регулирует прогиб мачты относительно паруса,
а также предохраняет мачту от поломки в штормовую погоду.
В настоящее время благодаря применению более легких мачт нижний
бакштаг B2 в гонках несет большую нагрузку, чем верхний В1.
На крейсерских яхтах и яхтах класса "5,5-метровый" используется
тип такелажа (схема на рис. 24), возможности регулировки которого
небольшие. Изгибают здесь мачту натяжением ахтерштага и ослаблением
ромбовант, а также перемещением шпора мачты к корме и упором ее
задней кромки в палубу.
На схеме (рис. 25) показано типичное крепление такелажа на верхней
части мачты. Этот тип такелажа имеет строго ограниченные возможности
для регулировки, и если пренебрегать ими, то в штормовую погоду
можно потерять мачту. Особенно тогда, когда мачта стоит на палубе
(что делается нередко). Следовательно, здесь могут применяться
только паруса, сшитые как для прямых мачт, и единственной возможностью
в настройке является регулировка самих парусов.
Чтобы как-то расширить возможности настройки при таком типе такелажа,
можно попытаться использовать более гибкий жесткий гик. Например,
у слишком полного в нижней части паруса в сильный ветер можно
убрать излишнюю полноту за счет гибкости гика.
|
Рис. 24. |
Рис. 25. |




