Искусство плавания под парусами.
Паруса.
Часть 9
Из книги: "Искусство плавания под парусами".
Автор: Пауль Эльвстрем.
Настройка грота.
Тяга грота зависит от силы ветра, а также от конструкции паруса.
Каждый гонщик прежде всего должен сам попытаться определить, в
каких условиях его яхта имеет наибольшую скорость. Я только могу
предложить ряд вариантов настройки.
Давайте вначале рассмотрим настройку грота. В слабый ветер на
гладкой воде можно идти круче к ветру, для чего необходимо ползун
гика-шкота (или любое другое приспособление, которое вы используете)
передвинуть ближе к оси судна. И чем более плоским будет грот,
тем ближе к оси судна можно нести гик. С другой стороны, с увеличением
пузатости грота гик необходимо располагать как можно дальше к
борту. Это поможет избежать сбрасывания задней шкаториной воздушного
потока на ветер, что встречается чаще всего, когда парус имеет
большую полноту вдоль гика.
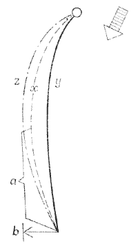
|
Рис. 13. |
Рис. 14. |
На рис. 13 часть паруса а, изображенного пунктирной линией
х, будет захватывать воздушный поток и отбрасывать его
на наветренную сторону. Следовательно, этот парус нужно стравить
до точки b, чтобы ветер свободно покидал его. Выполнив
это, можно идти так же высоко, как если бы использовался грот
у, но скорость яхты будет больше, так как грот у
слишком плоский для слабого ветра.
Важнее всего добиться максимальной скорости, запроектированной
конструкцией яхты, именно в слабый ветер.
Скорость яхты может намного измениться от незначительных, казалось
бы, изменений в настройке паруса, которые приводят в конечном
итоге к небольшим различиям в крутизне.
Если пользоваться еще более пузатым гротом (пунктирная линия z
на рис. 13), его грота-шкот нужно потравить еще больше, чем для
паруса х, чтобы гик передвинулся еще дальше от осевой линии
судна. Но даже в этом случае нельзя будет увеличить скорость настолько,
чтобы компенсировать недостатки паруса, если предположим, что
грот х имеет оптимальную для данной силы ветра форму. Идти
под гротом z можно двумя вариантами: так же круто, как
под гротом х, с меньшей скоростью или увалиться и, может
быть, достичь той же скорости, которую можно развить при гроте
х, идя круче к ветру. Как видите, существует оптимальная форма
паруса и оптимальный угол его установки для каждой скорости ветра.
И если ваш грот не имеет оптимальной формы, можно увеличить скорость
на лавировке, несколько изменив его настройку.
Эта дискуссия должна помочь решить, что можно сделать с гротом,
чтобы он лучше работал. Не обязательно, чтобы парус был идеальным
для данных условий. На гроте z можно развить большую скорость
на курсе бейдевинд, уваливаясь, и, может быть, лучше выполнить
этот маневр, чем пытаться идти под этим гротом так круто, как
под гротом х. Так как грот z полнее, он даст лучшие
результаты на полном курсе, и, идя под ним, можно не потерять,
а, наоборот, наверстать потерю скорости и даже выиграть.
На рис. 14 изображена яхта. Обратите внимание - невыгодно ставить
грот под таким углом, чтобы конец гика находился слева от прямой
пунктирной линии. В этом случае задняя шкаторина начнет отбрасывать
поток воздуха, покидающий парус, на ветер по курсу яхты. Если
грот будет еще более пузатым (изогнутая пунктирная линия на рисунке),
то воздушный поток станет еще больше отбрасываться на ветер и
яхту будет тянуть главным образом вбок, отчего скорость будет
снижаться.
На этом фото грот слишком сильно затянут по задней штторине. Нижняя лата имеет почти то же направление что и осевая линия судна. Задняя шкаторина генуи должна быть также параллельна осевой, но она слишком плоская в нижней части.
До сих пор мы говорили только о положении гика относительно диаметральной
оси судна. Но если набить гика-шкот и как можно больше приблизить
гик к оси судна (например, когда расстояние между ползуном и гиком
слишком велико или когда ползун слишком сильно отодвинут к подветренному
борту), сильно натянется по всей длине задняя шкаторина, что,
по-моему, очень плохо в любом случае.
Исходя из опыта, я считаю, что чрезмерное натяжение задней шкаторины
уменьшает скорость яхты в любой ветер. Это факт, и не спрашивайте
меня, почему так происходит. Близость ползуна гика-шкота к гику
увеличивает диапазон настройки. С увеличением силы ветра гик следует
как можно дальше отодвигать от осевой линии судна.
Рис.
15.
Хочу напомнить, и это очень важно в определенных условиях, что
чем меньше набивать грота-шкот, тем свободнее стоит задняя шкаторина
грота. Следовательно, если в сильный ветер перемещать ползун к
диаметральной плоскости яхты, не выбирая сильно шкотов, можно
приостановить задувание на грот с генуэзского стакселя, а также
дать воздушному потоку, сходящему с задней шкаторины генуэзского
стакселя, проходить более свободно. Этого можно достичь не набивая
заднюю шкаторину грота. По целому ряду рисунков, имеющихся в этой
книге, можно проследить применение такого метода. Отсюда следует
еще одна закономерность: чем меньше парусность стакселя, тем больше
можно удалять шкот от осевой линии судна.
В сильный ветер заднюю шкаторину грота ослабляют для того, чтобы
яхта не лежала на руле; кроме того, это наиболее эффективный способ
уменьшить площадь парусности, так как в сильный ветер на курсе
бейдевинд не нужна именно верхняя часть грота и часть, находящаяся
вдоль задней шкаторины. Когда задняя шкаторина ослаблена полностью,
эффективно работает только часть X грота, заштрихованная
на рис. 15. Очень важно при этом, чтобы эта площадь паруса не
была слишком плоской, а следовательно, малоэффективной.
Настройка стакселя.
В основном правила настройки стакселя те же, что и для грота:
кипы стакселя переносят ближе к осевой линии судна или в противоположном
направлении, в зависимости от величины профиля стакселя и от силы
ветра.
Слишком пузатый для данных ветровых условий стаксель необходимо
вынести как можно дальше от диаметральной плоскости яхты и передвинуть
киповую планку к корме. Натяжением нижней шкаторины можно избавиться
от большого профиля на стакселе, не набивая заднюю шкаторину.
Затянутая задняя шкаторина стакселя больше всего снижает скорость
яхты. В результате передвижения кипы ближе к борту и к корме увеличивается
расстояние между стакселем и гротом, и это позволяет воздушному
потоку свободно проходить между парусами. Если воздушный поток
со стакселя задувает на грот, значит, он не свободно отбрасывается
к корме.
Рис.
16.
Со стакселя, стоящего, как изображено пунктирной линией б на рис. 16, будет сильно задувать на грот, но если стаксель стравить в положение а (жирная линия на том же рисунке), степень задувания сильно уменьшится. Полностью приостановить задувание в грот невозможно, потому что такелаж всегда является компромиссом между тем, чтобы заставить довольно пузатый грот тянуть на всех курсах, и тем, чтобы нести стаксель достаточно близко к осевой линии и иметь возможность идти круче.
Парус
стоит правильно в данных условиях. Нижняя лата параллельна осевой линии судна.
В таком случае даже в слабый ветер необходимо выгибать мачту, чтобы убрать излишний профиль с грота. Это позволит свободно покидать генуэзский стаксель большему потоку воздуха. Мачту можно выгнуть способом, который мы уже разбирали в разделе о настройке мачты, то есть передвинув ее вперед в область палубы или переместив шпор мачты. Если нельзя передвинуть кипу стакселя вперед или к корме, можно в крайнем случае весь стаксель на его штаге переместить вверх или вниз. Результат будет почти тем же. Когда же невозможно сделать и этого, можно освободить заднюю шкаторину, наклонив мачту к корме.
Настройка парусов на полных курсах.
Здесь мы имеем дело с оттяжкой гика - очень важной частью такелажа
килевых яхт.
Величину натяжения оттяжки гика следует определить экспериментально.
Если слишком набить ее, то яхта может получить слишком большой
крен из-за дополнительной мощности с верхней части паруса. Это
может повлечь за собой необходимость сильно одерживать яхту рулем.
На курсах бакштаг и фордевинд следует как можно больше набивать
оттяжку гика. Чем более плоским будет парус, тем большую площадь
парусности он будет иметь, тем большую скорость сможет развивать
яхта.
Однако на остром курсе в результате сильной набивки оттяжки такелаж
килевых яхт потеряет гибкость. В этом случае он не сможет гасить
или сглаживать неожиданные толчки, вызванные порывами ветра или
ударами яхты о волны, и скорость судна замедлится.
Настройка спинакера.
Главный принцип в настройке спинакера на курсах фордевинд и бакштаг
- увеличение площади его парусности. На более острых курсах следует
ставить более плоский спинакер и как можно больше выносить его
переднюю шкаторину на ветер. Причем тогда его используют так же,
как и большую геную.
На курсах галфвинд и острый бакштаг спинакер располагается как
можно дальше к корме и задняя шкаторина его заходит как можно
дальше на подветренную сторону. В тех классах, где форма спинакера
не ограничивается, его можно сделать настолько узким, что придется
переносить его кипу вперед и использовать как геную.
|
Спинакер № 174 сделан из дакрона, он сохраняет плоскую
форму даже в сильный ветер. Следовательно, № 174 может нести
спинакер-гик, ниже, чем при нейлоновом спинакере. |
Рис. 17. |
Если на плоском спинакере идти очень круто и приводиться, то
может наступить такой момент, что при дальнейшем выбирании шкотов
он будет настолько сильно задувать в грот, что яхта остановится.
Вместо этого можно переместить спинакер-гик больше на ветер до
положения а на рис. 17. Таким образом мы получим дополнительную
возможность идти круче к ветру. В результате спинакер приближается
к гроту под тем же углом и появляется возможность выбрать его
несколько больше, чем раньше. От этого спинакер становится площе,
и на нем можно идти несколько круче, не опасаясь, что он погаснет.
В конце концов наступает такой момент, когда невозможно больше
приблизить спинакер к гроту, как стаксель, но и здесь существует
еще одна возможность сделать его более плоским. Если на несколько
дюймов потравить спинакер-фал, то спинакер уйдет вперед под ветер,
таким образом, увеличится расстояние между ним и гротом в верхней
части.
Другая возможность изменить форму спинакера - перемещение спинакер-гика
вверх и вниз. Если спинакер-гик опустить вниз, то передняя шкаторина
спинакера натягивается. В результате профиль его смещается вперед,
к передней шкаторине. Это имеет те же самые последствия, что и
натяжение передней шкаторины грота. Перемещение профиля вперед
не позволяет идти более круто, передняя шкаторина завернется внутрь,
и спинакер погаснет.
Если спинакер-гик поднять вверх, то натяжение передней шкаторины
ослабнет, и она уйдет под ветер, что позволит идти круче к ветру.
В конце концов наступит такой момент, когда сфера спинакера не
сможет удерживаться и передняя шкаторина завернется наружу. Следовательно,
высота установки спинакер-гика имеет очень большое значение.
Хочу напомнить: чтобы решить, ставить или не ставить спинакер
после огибания наветренного знака, обязательно следует посмотреть
на флюгарку. Если флюгарка покажет, что направление ветра острее
галфвинда, то спинакер ставить не нужно. Однако если поставить
и хорошо настроить спинакер, то на яхтах многих классов можно
идти более острым курсом. Односторонний спинакер с одной передней
шкаториной ведет себя так же, как и полная легкая генуя.
Гибкость рангоута на швертботах.
Для гибкой мачты применяются паруса, близкие по форме к крылу
птицы. Для жесткой мачты они должны иметь более плавные формы,
тогда на швертботах можно достичь максимальной скорости.
Форма паруса гораздо важнее, чем положение мачты. Она оказывает
большее влияние на дифферентовку швертбота, чем перемещение мачты.
Например, если парус по задней шкаторине затянут больше, чем надо,
то с увеличением ветра швертбот будет лежать на руле. Чтобы избежать
этого, следует передвинуть мачту на 9 дюймов вперед. Но чтобы
швертбот не лежал на руле, можно поставить парус, который по задней
шкаторине сшит правильно.
На швертботах с подвижным такелажем топ мачты на встречных курсах
отгибается назад приблизительно на три фута, что смещает центр
парусности к корме. Но, несмотря на это, швертбот не будет лежать
на руле. Изгиб мачты, изменяя форму паруса, ослабляет заднюю шкаторину,
что говорит о взаимосвязанности работы мачты и паруса. Об этой
взаимосвязанности надо всегда помнить. Нельзя подбирать отдельно
хорошую мачту и дорогой парус, пока нет уверенности в том, что
они будут подходить друг к другу.
В классе "Финн" можно иметь мачту любой гибкости или жесткости,
по желанию. Лично я предпочитаю мачту, которая хорошо гнется как
вперед, так и назад (но не вбок), так как это дает хорошую скорость
и позволяет идти круче к ветру. Предположим, что имеющийся парус
слишком полный для сильного ветра. Этот недостаток можно исправить
следующим образом: во-первых, сшить парус из более плотной ткани;
во-вторых, скроить его более плоским и, в-третьих, сделать мачту
более гибкой. Если вы считаете, что в слабый ветер плотный парус
будет недостаточно быстро реагировать на усиление ветра, тогда
мачту следует сделать более гибкой или парус более плоским. Так
как парус должен работать и в слабый ветер, его нельзя делать
слишком плоским. Поэтому нужно сострогать переднюю и заднюю части
мачты и таким образом придать ей большую гибкость.

Рис. 18. Степень гибкости моей мачты на "Финне". Для этой мачты я пошил парус из материала, эластичность которого соответствует степени гибкости мачты. Этот парус будет не слишком полным и не слишком плоским при изгибе мачты в различных ветровых условиях. Мачта гораздо жестче в поперечном направлении, чем в продольном.
|
Рис. 19. Используя ромбовидный такелаж, можно полностью выпрямить мачту, и, регулируя натяжение ромбовант, можно добиться полного соответствия между мачтой и яхтой для достижения максимальной скорости. Идеальная величина прогиба мачты зависит от типа яхты и формы паруса. Ромбовидный такелаж выгоден в классах "Снайд", "Корнет", "5-0-5" и "Летучий голландец". |
Вот пример того, как туго набиваются паруса в "5,5-метровом" классе и как круто яхты этого класса идут к ветру. Это возможно благодаря острой форме корпуса. |
С другой стороны, если для среднего ветра парус слишком плоский,
то следует выяснить, не слишком ли гибкая мачта или не очень плотна
ткань паруса, не скроен ли он слишком плоским. Если яхта не может
идти круто на курсе бейдевинд, причиной этого может также быть
слишком гибкий гик.
В классах "Летучий голландец", "5-0-5", "Снайп" разрешается применять
алюминиевые мачты. Было найдено, что можно добиться в этих классах
наибольшей скорости, правильно используя возможность мачт гнуться
и подходящие паруса. На таких мачтах необходимо применять ромбовидный
такелаж, чтобы они могли гнуться вперед и назад и очень незначительно
- в стороны.
С появлением нового паруса необходимо проверить, подходит ли он
к мачте и соответствует ли весу экипажа. Здесь полагайтесь на
свой гоночный опыт в данном классе.
Требования, предъявляемые к мачте и парусу для яхт классов "Финн"
и "ОК", одинаковы. Чем легче гонщик, тем более гибкой должна быть
мачта, чтобы в сильный ветер она могла выравнивать пузо на парусе
и позволять воздушному потоку легче стекать с него. Мачту нужно
сострогать настолько, чтобы задняя шкаторина почти не натягивалась
при самых сильных порывах ветра. Тяжелый гонщик своим весом уравновешивает
силу давления ветра на паруса, поэтому можно ставить более жесткую
мачту.
Стаксели.
Хороший стаксель должен быть очень полным в нижней части и более плоским (но не слишком) в верхней. Я всегда считал, что именно стаксель начинает тянуть яхту вперед после поворота и после того, как она снизит скорость, ударившись о волну. Однако он должен быть достаточно плоским, чтобы иметь возможность идти круче к ветру на курсе бейдевинд.
Установка грота.
Чтобы правильно установить грот, надо прежде всего обладать необходимым
опытом. Для слабого ветра грот поднимают и набивают только до
момента исчезновения на нем морщин, потому что для таких ветровых
условий он должен быть как можно полней. При подъеме старайтесь
как можно меньше растягивать его. Многие поступают неправильно,
вначале надевая грот на гик, а затем поднимая его на мачту. Прежде
надо поднять грот, а затем натягивать на гик - тогда будет видно,
насколько необходимо растянуть его по гику. Если парус слишком
сильно набить вдоль мачты и гика, то на нем появятся складки,
уберется также и полнота из центральной части паруса. Так поставленный
грот может раздуться только в сильный ветер, при слабом ветре
этого не произойдет.
На большинство парусов вода не оказывает влияния. Однако из-за
присутствия соли в морской воде даже синтетические паруса следует
мыть в пресной воде, чтобы восстановить их водоотталкивающее свойство.
Не бойтесь мыть синтетический парус мылом и не оставляйте мокрый
парус в мешке дольше чем на неделю. В противном случае он начнет
покрываться плесенью и обесцвечиваться. Влияет ли это на качество
материала, я не знаю.
Латы.
Рис.
20. Верхняя лата в классах "Летучий голландец" и "5-0-5" должна туго набиваться, чтобы на парусе
убиралась полнота в верхней части, как показано на схеме.
Латы служат для повышения жесткости паруса по задней шкаторине, для поддержания ее в устойчивом положении и должны быть легкими и негнущимися, кроме верхних лат в классах "Летучий голландец" и "5-0-5" и длинных лат на "Корнете". Последние изготовляются более тонкими и более гибкими по мере приближения к мачте. Дерево - самый легкий и жесткий материал. Пластмассы слишком тяжелы и безжизненны в работе. Слишком же тяжелые латы вызывают вибрацию задней шкаторины на поворотах оверштаг в сильный ветер, а в слабый ветер под их тяжестью парус по задней шкаторине обвисает.








